send mail to support@abhimanu.com mentioning your email id and mobileno registered with us! if details not recieved
Resend Opt after 60 Sec.
By Loging in you agree to Terms of Services and Privacy Policy
Claim your free MCQ
Please specify
Sorry for the inconvenience but we’re performing some maintenance at the moment. Website can be slow during this phase..
Please verify your mobile number
Login not allowed, Please logout from existing browser
Please update your name
Subscribe to Notifications
Stay updated with the latest Current affairs and other important updates regarding video Lectures, Test Schedules, live sessions etc..
Your Free user account at abhipedia has been created.
Remember, success is a journey, not a destination. Stay motivated and keep moving forward!
Refer & Earn
Enquire Now
My Abhipedia Earning
Kindly Login to view your earning
Support
The demand for money arises from two important functions of monety. The first is that money acts as a medium of exchange and the second is that it is a store of value. Thus individual and business wish to hold money partly in cash and partly in the form of assets.
Main Motives for which Money is Wanted by the People
Some of the major motives for which money is wanted by the people are as follows: (a) Transaction Motive (b) Precautionary Motive (c) Speculative Motive.
People demand commodities such as rice, wheat, clothes, etc. because these goods possess utility. However, money does not possess any utility to directly satisfy the consumers. Then, why do people demand money?
It refers to demand for money for conducting day-to-day transactions. This motive can be looked at from the perspective of consumers, who want income to meet their household expenditure (income motive) and from the perspective of businessmen, who require money to carry on their business activities (business motive). The transaction motive relates to demand for money to meet the current transactions of individuals and business units. The income, which a person gets, is not continuous whereas, expenditure is continuous. So, to bridge the gap between receipt of income and its expenditure, people hold cash.
According to Keynes, transaction demand for money is positively associated with the level of income, i.e. higher the level of income, larger would be the size of money holdings for transactions.
It refers to the desire of people to hold cash balances for unforeseen contingencies. People wish to hold some money to provide for the risk of unforeseen events like sickness, accident, etc. The amount of money held under this motive, depends on the nature of individual and on the conditions in which he lives. The demand of money for precautionary balances is also closely related to the level of income. Higher the level of income, more will be the cash balances for contingencies.
Transaction Motive Vs. Precautionary Motive:
1. In case of transaction motive, money is held for ordinary transactions, while under precautionary motive, cash is kept to meet unforeseen transactions.
2. Under transaction motive, holding of money is very convenient and value of money, in terms of other goods, is relatively certain. However, under precautionary motive, holding of money depends on the degree of uncertainty i.e. more money is kept in the events of war or financial crisis and less money during normal conditions.
In general, the cash balances held for transaction and precautionary motives are directly dependent on the level of income.
It refers to desire of the holder to keep cash balance as an alternative to financial assets like bonds. Under speculative motive, it is presumed that people can hold their wealth either in the form of bonds or in the form of cash balances. The decisions regarding holding of bonds or cash balances depend upon the expectations about changes in the rate of interest or capital value of assets (bonds) in future.
The interest rate varies inversely with the market value of securities (bonds), i.e. when interest rate rises, market value of bonds falls. Hence, demand for money for speculative motive becomes less at high interest rates and becomes large at low interest rates.
What explains changes in the demand for money? There are two views on this issue. The first is the “scale” view which is related to the impact of the income or wealth level upon the demand for money. The demand for money is directly related to the income level. The higher the income level, the greater will be the demand for money. The second is the “substitution” view which is related to relative attractiveness of assets that can be substituted for money. According to this view, when alternative assets like bonds become unattractive due to fall in interest rates, people prefer to keep their assets in cash, and the demand for money increases, and vice versa. The scale and substitution view combined together have been used to explain the nature of the demand for money which has been split into the transactions demand, the precautionary demand and the speculative demand. There are three approaches to the demand for money: the classical, the Keynesian, and the post-Keynesian.
The classical economists did not explicitly formulate demand for money theory but their views are inherent in the quantity theory of money. They emphasized the transactions demand for money in terms of the velocity of circulation of money. This is because money acts as a medium of exchange and facilitates the exchange of goods and services. In Fisher’s “Equation of Exchange”.
MV=PT
Where M is the total quantity of money, V is its velocity of circulation, P is the price level, and T is the total amount of goods and services exchanged for money.
The right hand side of this equation PT represents the demand for money which, in fact, “depends upon the value of the transactions to be undertaken in the economy, and is equal to a constant fraction of those transactions.” MV represents the supply of money which is given and in equilibrium equals the demand for money. Thus the equation becomes
Md = PT
This transactions demand for money, in turn, is determined by the level of full employment income. This is because the classicists believed in Say’s Law whereby supply created its own demand, assuming the full employment level of income. Thus the demand for money in Fisher’s approach is a constant proportion of the level of transactions, which in turn, bears a constant relationship to the level of national income. Further, the demand for money is linked to the volume of trade going on in an economy at any time.
Thus its underlying assumption is that people hold money to buy goods. But people also hold money for other reasons, such as to earn interest and to provide against unforeseen events. It is therefore, not possible to say that V will remain constant when M is changed. The most important thing about money in Fisher’s theory is that it is transferable. But it does not explain fully why people hold money. It does not clarify whether to include as money such items as time deposits or savings deposits that are not immediately available to pay debts without first being converted into currency.
It was the Cambridge cash balance approach which raised a further question: Why do people actually want to hold their assets in the form of money? With larger incomes, people want to make larger volumes of transactions and that larger cash balances will, therefore, be demanded.
The Cambridge demand equation for money is
Md=kPY
where Md is the demand for money which must equal the supply to money (Md=Ms) in equilibrium in the economy, k is the fraction of the real money income (PY) which people wish to hold in cash and demand deposits or the ratio of money stock to income, P is the price level, and Y is the aggregate real income. This equation tells us that “other things being equal, the demand for money in normal terms would be proportional to the nominal level of income for each individual, and hence for the aggregate economy as well.”
This approach includes time and saving deposits and other convertible funds in the demand for money. It also stresses the importance of factors that make money more or less useful, such as the costs of holding it, uncertainty about the future and so on. But it says little about the nature of the relationship that one expects to prevail between its variables, and it does not say too much about which ones might be important.
One of its major criticisms arises from the neglect of store of value function of money. The classicists emphasized only the medium of exchange function of money which simply acted as a go-between to facilitate buying and selling. For them, money performed a neutral role in the economy. It was barren and would not multiply, if stored in the form of wealth.
This was an erroneous view because money performed the “asset” function when it is transformed into other forms of assets like bills, equities, debentures, real assets (houses, cars, TVs, and so on), etc. Thus the neglect of the asset function of money was the major weakness of classical approach to the demand for money which Keynes remedied.
Keynes in his General Theory used a new term “liquidity preference” for the demand for money. Keynes suggested three motives which led to the demand for money in an economy: (1) the transactions demand, (2) the precautionary demand, and (3) the speculative demand.
The transactions demand for money arises from the medium of exchange function of money in making regular payments for goods and services. According to Keynes, it relates to “the need of cash for the current transactions of personal and business exchange” It is further divided into income and business motives. The income motive is meant “to bridge the interval between the receipt of income and its disbursement.”
Similarly, the business motive is meant “to bridge the interval between the time of incurring business costs and that of the receipt of the sale proceeds.” If the time between the incurring of expenditure and receipt of income is small, less cash will be held by the people for current transactions, and vice versa. There will, however, be changes in the transactions demand for money depending upon the expectations of income recipients and businessmen. They depend upon the level of income, the interest rate, the business turnover, the normal period between the receipt and disbursement of income, etc.
Given these factors, the transactions demand for money is a direct proportional and positive function of the level of income, and is expressed as
L1 = kY
Where L1 is the transactions demand for money, k is the proportion of income which is kept for transactions purposes, and Y is the income.
This equation is illustrated in Figure 70.1 where the line kY represents a linear and proportional relation between transactions demand and the level of income. Assuming k= 1/4 and income Rs 1000 crores, the demand for transactions balances would be Rs 250 crores, at point A. With the increase in income to Rs 1200 crores, the transactions demand would be Rs 300 crores at point ? on the curve kY
If the transactions demand falls due to a change in the institutional and structural conditions of the economy, the value of ? is reduced to say, 1/5, and the new transactions demand curve is kY. It shows that for income of Rs 1000 and 1200 crores, transactions balances would Rs 200 and 240 crores at points ? and D respectively in the figure. “Thus we conclude that the chief determinant of changes in the actual amount of the transactions balances held is changes in income. Changes in the transactions balances are the result of movements along a line like kY rather than changes in the slope of the line. In the equation, changes in transactions balances are the result of changes in Y rather than changes in k.”
Regarding the rate of interest as the determinant of the transactions demand for money Keynes made the LT function interest inelastic. But the pointed out that the “demand for money in the active circulation is also the some extent a function of the rate of interest, since a higher rate of interest may lead to a more economical use of active balances.” “However, he did not stress the role of the rate of interest in this part of his analysis, and many of his popularizes ignored it altogether.” In recent years, two post-Keynesian economists William J. Baumol and James Tobin have shown that the rate of interest is an important determinant of transactions demand for money.
They have also pointed out the relationship, between transactions demand for money and income is not linear and proportional. Rather, changes in income lead to proportionately smaller changes in transactions demand.
Transactions balances are held because income received once a month is not spent on the same day. In fact, an individual spreads his expenditure evenly over the month. Thus a portion of money meant for transactions purposes can be spent on short-term interest-yielding securities. It is possible to “put funds to work for a matter of days, weeks, or months in interest-bearing securities such as U.S. Treasury bills or commercial paper and other short-term money market instruments.
The problem here is that there is a cost involved in buying and selling. One must weigh the financial cost and inconvenience of frequent entry to and exit from the market for securities against the apparent advantage of holding interest-bearing securities in place of idle transactions balances.
Among other things, the cost per purchase and sale, the rate of interest, and the frequency of purchases and sales determine the profitability of switching from ideal transactions balances to earning assets. Nonetheless, with the cost per purchase and sale given, there is clearly some rate of interest at which it becomes profitable to switch what otherwise would be transactions balances into interest-bearing securities, even if the period for which these funds may be spared from transactions needs is measured only in weeks. The higher the interest rate, the larger will be the fraction of any given amount of transactions balances that can be profitably diverted into securities.”
The structure of cash and short-term bond holdings is shown in Figure 70.2 (A), (B) and (C). Suppose an individual receives Rs 1200 as income on the first of every month and spends it evenly over the month. The month has four weeks. His saving is zero.
Accordingly, his transactions demand for money in each week is Rs 300. So he has Rs 900 idle money in the first week, Rs 600 in the second week, and Rs 300 in the third week. He will, therefore, convert this idle money into interest bearing bonds, as illustrated in Panel (B) and (C) of Figure 70.2. He keeps and spends Rs 300 during the first week (shown in Panel B), and invests Rs 900 in interest-bearing bonds (shown in Panel C). On the first day of the second week he sells bonds worth Rs. 300 to cover cash transactions of the second week and his bond holdings are reduced to Rs 600.
Similarly, he will sell bonds worth Rs 300 in the beginning of the third and keep the remaining bonds amounting to Rs 300 which he will sell on the first day of the fourth week to meet his expenses for the last week of the month. The amount of cash held for transactions purposes by the individual during each week is shown in saw-tooth pattern in Panel (B), and the bond holdings in each week are shown in blocks in Panel (C) of Figure 70.2.
The modern view is that the transactions demand for money is a function of both income and interest rates which can be expressed as L1 = f (Y, r).
This relationship between income and interest rate and the transactions demand for money for the economy as a whole is illustrated in Figure 3. We saw above that LT = kY. If y=Rs 1200 crores and k= 1/4, then LT = Rs 300 crores.
This is shown as Y1 curve in Figure 70.3. If the income level rises to Rs 1600 crores, the transactions demand also increases to Rs 400 crores, given k = 1/4. Consequently, the transactions demand curve shifts to Y2. The transactions demand curves Y1, and Y2 are interest- inelastic so long as the rate of interest does not rise above r8 per cent.
As the rate of interest starts rising above r8, the transactions demand for money becomes interest elastic. It indicates that “given the cost of switching into and out of securities, an interest rate above 8 per cent is sufficiently high to attract some amount of transaction balances into securities.” The backward slope of the K, curve shows that at still higher rates, the transaction demand for money declines.
Thus when the rate of interest rises to r12, the transactions demand declines to Rs 250 crores with an income level of Rs 1200 crores. Similarly, when the national income is Rs 1600 crores the transactions demand would decline to Rs 350 crores at r12 interest rate. Thus the transactions demand for money varies directly with the level of income and inversely with the rate of interest.
The Precautionary motive relates to “the desire to provide for contingencies requiring sudden expenditures and for unforeseen opportunities of advantageous purchases.” Both individuals and businessmen keep cash in reserve to meet unexpected needs. Individuals hold some cash to provide for illness, accidents, unemployment and other unforeseen contingencies.Similarly, businessmen keep cash in reserve to tide over unfavourable conditions or to gain from unexpected deals. Therefore, “money held under the precautionary motive is rather like water kept in reserve in a water tank.” The precautionary demand for money depends upon the level of income, and business activity, opportunities for unexpected profitable deals, availability of cash, the cost of holding liquid assets in bank reserves, etc.
Keynes held that the precautionary demand for money, like transactions demand, was a function of the level of income. But the post-Keynesian economists believe that like transactions demand, it is inversely related to high interest rates. The transactions and precautionary demand for money will be unstable, particularly if the economy is not at full employment level and transactions are, therefore, less than the maximum, and are liable to fluctuate up or down.Since precautionary demand, like transactions demand is a function of income and interest rates, the demand for money for these two purposes is expressed in the single equation LT=f(Y, r)9. Thus the precautionary demand for money can also be explained diagrammatically in terms of Figures 2 and 3.
The speculative (or asset or liquidity preference) demand for money is for securing profit from knowing better than the market what the future will bring forth”. Individuals and businessmen having funds, after keeping enough for transactions and precautionary purposes, like to make a speculative gain by investing in bonds. Money held for speculative purposes is a liquid store of value which can be invested at an opportune moment in interest-bearing bonds or securities. Bond prices and the rate of interest are inversely related to each other. Low bond prices are indicative of high interest rates, and high bond prices reflect low interest rates. A bond carries a fixed rate of interest. For instance, if a bond of the value of Rs 100 carries 4 per cent interest and the market rate of interest rises to 8 per cent, the value of this bond falls to Rs 50 in the market. If the market rate of interest falls to 2 per cent, the value of the bond will rise to Rs 200 in the market.
This can be worked out with the help of the equation
V = R/r
Where V is the current market value of a bond, R is the annual return on the bond, and r is the rate of return currently earned or the market rate of interest. So a bond worth Rs 100 (V) and carrying a 4 per cent rate of interest (r), gets an annual return (R) of Rs 4, that is,
V=Rs 4/0.04=Rs 100. When the market rate of interest rises to 8 per cent, then V=Rs 4/0.08=Rs50; when it fall to 2 per cent, then V=Rs 4/0.02=Rs 200.
Thus individuals and businessmen can gain by buying bonds worth Rs 100 each at the market price of Rs 50 each when the rate of interest is high (8 per cent), and sell them again when they are dearer (Rs 200 each when the rate of interest falls (to 2 per cent).
According to Keynes, it is expectations about changes in bond prices or in the current market rate of interest that determine the speculative demand for money. In explaining the speculative demand for money, Keynes had a normal or critical rate of interest (rc) in mind. If the current rate of interest (r) is above the “critical” rate of interest, businessmen expect it to fall and bond price to rise. They will, therefore, buy bonds to sell them in future when their prices rise in order to gain thereby. At such times, the speculative demand for money would fall. Conversely, if the current rate of interest happens to be below the critical rate, businessmen expect it to rise and bond prices to fall. They will, therefore, sell bonds in the present if they have any, and the speculative demand for money would increase.
Thus when r > r0, an investor holds all his liquid assets in bonds, and when r < r0 his entire holdings go into money. But when r = r0, he becomes indifferent to hold bonds or money.
Thus relationship between an individual’s demand for money and the rate of interest is shown in Figure 70.4 where the horizontal axis shows the individual’s demand for money for speculative purposes and the current and critical interest rates on the vertical axis. The figure shows that when r is greater than r0, the asset holder puts all his cash balances in bonds and his demand for money is zero.
This is illustrated by the LM portion of the vertical axis. When r falls below r0, the individual expects more capital losses on bonds as against the interest yield. He, therefore, converts his entire holdings into money, as shown by OW in the figure. This relationship between an individual asset holder’s demand for money and the current rate of interest gives the discontinuous step demand for money curve LMSW.
For the economy as a whole the individual demand curve can be aggregated on this presumption that individual asset-holders differ in their critical rates r0. It is smooth curve which slopes downward from left to right, as shown in Figure 70.5.
Thus the speculative demand for money is a decreasing function of the rate of interest. The higher the rate of interest, the lower the speculative demand for money and the lower the rate of interest, the higher the speculative demand for money. It can be expressed algebraically as Ls = f (r), where Ls is the speculative demand for money and r is the rate of interest.
Geometrically, it is shows in Figure 70.5. The figure shows that at a very high rate of interest rJ2, the speculative demand for money is zero and businessmen invest their cash holdings in bonds because they believe that the interest rate cannot rise further. As the rate of interest falls to say, r8 the speculative demand for money is OS. With a further fall in the interest rate to r6, it rises to OS’. Thus the shape of the Ls curve shows that as the interest rate rises, the speculative demand for money declines; and with the fall in the interest rate, it increases. Thus the Keynesian speculative demand for money function is highly volatile, depending upon the behaviour of interest rates.
Keynes visualised conditions in which the speculative demand for money would be highly or even totally elastic so that changes in the quantity of money would be fully absorbed into speculative balances. This is the famous Keynesian liquidity trap. In this case, changes in the quantity of money have no effects at all on prices or income. According to Keynes, this is likely to happen when the market interest rate is very low so that yields on bond, equities and other securities will also be low. At a very low rate of interest, such as r2, the Ls curve becomes perfectly elastic and the speculative demand for money is infinitely elastic. This portion of the Ls curve is known as the liquidity trap. At such a low rate, people prefer to keep money in cash rather than invest in bonds because purchasing bonds will mean a definite loss. People will not buy bonds so long as the interest rate remain at the low level and they will be waiting for the rate of interest to return to the “normal” level and bond prices to fall.
According to Keynes, as the rate of interest approaches zero, the risk of loss in holding bonds becomes greater. “When the price of bonds has been bid up so high that the rate of interest is, say, only 2 per cent or less, a very small decline in the price of bonds will wipe out the yield entirely and a slightly further decline would result in loss of the part of the principal.” Thus the lower the interest rate, the smaller the earnings from bonds. Therefore, the greater the demand for cash holdings. Consequently, the Ls curve will become perfectly elastic.
Further, according to Keynes, “a long-term rate of interest of 2 per cent leaves more to fear than to hope, and offers, at the same time, a running yield which is only sufficient to offset a very small measure of fear.” This makes the Ls curve “virtually absolute in the sense that almost everybody prefers cash to holding a debt which yields so low a rate of interest.”
Prof. Modigliani believes that an infinitely elastic Ls curve is possible in a period of great uncertainty when price reductions are anticipated and the tendency to invest in bonds decreases, or if there prevails “a real scarcity of investment outlets that are profitable at rates of interest higher than the institutional minimum.” The phenomenon of liquidity trap possesses certain important implications.
First, the monetary authority cannot influence the rate of interest even by following a cheap money policy. An increase in the quantity of money cannot lead to a further decline in the rate of interest in a liquidity-trap situation. Second, the rate of interest cannot fall to zero. Third, the policy of a general wage cut cannot be efficacious in the face of a perfectly elastic liquidity preference curve, such as Ls in Figure 70.5. No doubt, a policy of general wage cut would lower wages and prices, and thus release money from transactions to speculative purpose, the rate of interest would remain unaffected because people would hold money due to the prevalent uncertainty in the money market. Last, if new money is created, it instantly goes into speculative balances and is put into bank vaults or cash boxes instead of being invested. Thus there is no effect on income. Income can change without any change in the quantity of money. Thus monetary changes have a weak effect on economic activity under conditions of absolute liquidity preference.
According to Keynes, money held for transactions and precautionary purposes is primarily a function of the level of income, LT=f (F), and the speculative demand for money is a function of the rate of interest, Ls = f (r). Thus the total demand for money is a function of both income and the interest rate:
LT + LS = f (Y) + f (r)
or L = f (Y) + f (r)
or L=f (Y, r)
Where L represents the total demand for money.
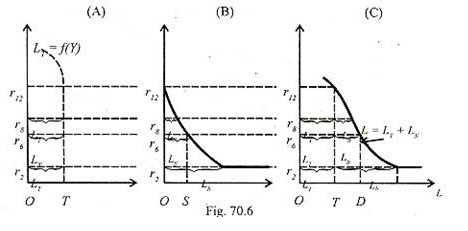
Thus the total demand for money can be derived by the lateral summation of the demand function for transactions and precautionary purposes and the demand function for speculative purposes, as illustrated in Figure 70.6 (A), (B) and (C). Panel (A) of the Figure shows OT, the transactions and precautionary demand for money at Y level of income and different rates of interest. Panel (B) shows the speculative demand for money at various rates of interest. It is an inverse function of the rate of interest.
For instance, at r6 rate of interest it is OS and as the rate of interest falls to r the Ls curve becomes perfectly elastic. Panel (C) shows the total demand curve for money L which is a lateral summation of LT and Ls curves: L=LT+LS. For example, at rb rate of interest, the total demand for money is OD which is the sum of transactions and precautionary demand ?? plus the speculative demand TD, OD=OT+TD. At r2 interest rate, the total demand for money curve also becomes perfectly elastic, showing the position of liquidity trap.
By: Jyoti Das ProfileResourcesReport error
Access to prime resources
New Courses