send mail to support@abhimanu.com mentioning your email id and mobileno registered with us! if details not recieved
Resend Opt after 60 Sec.
By Loging in you agree to Terms of Services and Privacy Policy
Claim your free MCQ
Please specify
Sorry for the inconvenience but we’re performing some maintenance at the moment. Website can be slow during this phase..
Please verify your mobile number
Login not allowed, Please logout from existing browser
Please update your name
Subscribe to Notifications
Stay updated with the latest Current affairs and other important updates regarding video Lectures, Test Schedules, live sessions etc..
Your Free user account at abhipedia has been created.
Remember, success is a journey, not a destination. Stay motivated and keep moving forward!
Refer & Earn
Enquire Now
My Abhipedia Earning
Kindly Login to view your earning
Support
Introduction
The economics of Amartya Sen envelopes diverse aspects of economic inquiry ranging from social choice theory to issues relating to poverty and inequality, dimensions of human development and the role of State and social action in enhancing the quality of life. It represents a distinctive approach which cannot be easily bracketed within convenient compartmentalisation of contemporary economic research. This amazing ability to transcend the contours of specialization in the late 20th century academic world sets Prof. Amartya Sen apart from the rest. The awards of the Nobel Prize and Bharat Ratna to this outstanding economist provides an opportunity to explore his diverse world which represents a judicious mix of theoretical insight and empirical evidence, making his research a composite whole
Main Contributions of Amartya Kumar Sen
Sen’s “Poverty and Famines”, an essay by Sen on Entitlement and Deprivation (1981) is both theoretical and applied work. In the essay, several famines have been studied in the working of a general theoretical frame work from an original angle. He examined various meanings of poverty and drew attention to the incidence of absolute and relative deprivation. He relates the head-count ratio of poverty to the measure of inequality of deprivation of people below the poverty line. Sen identified various causes that lead to different famines and demonstrated that the decline in aggregate food availability is not the primary cause.
Sen gives very interesting data on how with relative rise in rice prices and the collapse of the rural labour’s entitlements of purchasing rice, there was a relative fall in the prices of a number of other commodities, like wheat flour, mustard oil, cloth, milk, fish, and haircuts. Sen’s theory led to a controversy on whether food availability decline was not the cause for the Bengal famine. The two factors which he has highlighted are, the adverse effects on the poor of the steep rise in the price due to the inflation of currency by the government and the reduction in market supplies due to speculative hoarding which also helped to boost prices further. Sen disputes the thesis that aggregate food decline was the chief factor causing the famine. The Nobel Committee has correctly appreciated Sen’s analysis of the mechanism of the famine, which is important in itself irrespective of the controversy concerning empirical causes of the famine. The Nobel Committee has done well in identifying’ Amartya Sen’ as the leading international economist of modern times who has addressed himself to the studies in famines and hunger in different parts of the world. His plea for regular assured food entitlement and the avoidance of inflation should surely be welcomed in all poor countries.
Sen has carried out massive work on poverty and inequality in India. Sen’s major point has been that the gap simplicity approach will not do. The distribution of income/consumption among the persons below the poverty line is to be taken into account. One has to be assumed that the initial distribution below poverty line would remain more and less unchanged. The intuitive finding was that the more skewed the distribution below the poverty line, the larger would be the Sen gap. Sen produced a neat formula, termed as the poverty measure, known as the Sen index.
P = [1 + (1-1) G ] H
Where P is the poverty index, 1 is the measure of distribution, G is the Gini coefficient, and H is the head count proportion of the people below the poverty line. The procedures adopted by Sen, seems to treat the inequality measure about the poverty line and that the poverty line as largely independent of each other. Sen measure is sensitive to changes in distribution parameter in the poverty line groups, changes in the price index of wage-goods, changes in the relative prices of wage-goods due to productivity changes in the latter etc.
Sen’s view is that the causes of poverty in India are illiteracy, poor health care, unemployment, bureaucratic administration etc. An illiterate person can hardly engage himself in production or in service. He is unaware of modern means of livelihood. Sen has suggested removal of illiteracy, malnutrition, unemployment etc. within a specific time period. He found that unequal distribution of wealth and income or concentration of wealth in fewer hands, illiteracy were the causes of poverty in countries like India. In Indian system, women members of a family are deprived of sufficient food, medical facilities etc. From the records of deaths during the period of famine, he found that among the victims, the number of women surpassed the male counter parts. Old women and female children died in larger numbers.
The concept of capabilities developed by Sen has been cited as a better index of wellbeing than commodities or utilities. Capability, as defined by Sen, is the ability to transform Rawlsian primary goods to the achievement of wellbeing. Capability of human being is his ability of functioning in different capacities in a society such as to enable him to achieve the components or the constitutions of his well-being. Such functioning ability concretely implies access to adequate and nutritious food.
Some measures are general and probably technical education, medical and health care facilities and a measure of security regarding the availability of the above. Sen has helped to induct indicators regarding the above in the human development index. A separate capability index for different countries has also been developed. Capability includes also an environment of freedom of choice and ability to make use of the various freedoms. Hence capability is prior to the attainment of the desired welfare states of individuals. Sen has argued that poverty is a result of capability failures. Sen has a wide ranging critique of conventional welfare economics on account of neglect of the capability dimension. His ideas in this area are continuously evolving and further break through may be expected. Capability is a normative concept. Capability development involves costs to society though the benefits may exceed the cost. If capability is deemed as a measure of surplus in human beings, classical economic analysis can be applied to it.
The concept of entitlement in the United States refers to the legally enforceable rights against the state like those of old age pensions. Sen has included in the concept of entitlements items like nutritious food, medical and health care, employments, security of food supply in times of famine etc. He considers famine as arising out of the failure of establishing a system of entitlements. He recognises that the market can provide entitlement provided all people can get work and a reasonable wage. The market will not provide entitlements in respect of some capability improving items. There are no identifiable reciprocities of commercial significance. Sen has vigorously asserted that expansion of market is among the instruments that can help to promote human capabilities and gave the imperative need for rapid elimination of endemic deprivation. It would be irresponsible to ignore that opportunity. There are major gains to be made in globalisation. But if a country has globalisation at the highest possible speed and pays no attention to lack of social opportunity, illiteracy and lack of health care, it was creating problem for itself.
In that case, the blame lies not with globalisation but with concomitant policies with which it was being married to. Globalisation need to be put in a broader context of social and economic policies. It could be a major force for prosperity only if it is backed by adequate national policies in a conducive social and economic environment. Sen has compared the Indian Index of Human Development with a Chinese Index of Human Development in which China is in a much higher scale. But he has compared the human development of China with human development index of Kerala, in which Kerala is better placed without any coercion in-spite of low income in comparison to so many states in India. Kerala’s data on human development show the regional variation and mismatch between income and human development in Indian States. The data also shows the variations in the public action in different states in India because Kerala’s progress on human development front is a result of public action and not the policies of globalisation and liberalisation.
Sen’s ‘Choice of Technique’ was a research work where he argued that in a labour surplus economy, generation of employment cannot be increased at the initial stage by the adoption of labour intensive technique. He pleaded for adoption of capital-intensive technique in a developing country like India. His argument was that capital-intensive technique strengthens the economic foundation of the country which help in further expansion of the economy. The expansion of capital – intensive projects has a snow – balling effect on development in general including agriculture and industry. The scope of expansion of employment opportunities is more in capital – based project compared to labour – based projects. This idea of Sen cannot be said to be totally new one, because the Indian planners adopted Mahalanobis capital-intensive four sector model in the second five year plan before the publication of Choice of Technique’ in 1960.
A.K. Sen begins with the problem of an investment planner who has to make a choice between various techniques. This person has to start with the estimates of real income flows corresponding to each technique. If (m1/m2) is the ratio of the volumes of investment with technique 1 and technique 2 respectively and if (r1/r2) is the ratio of reinvestment that would be possible when the investment planner choose the respective techniques, technique 1 will lead to a higher or lower rate of growth depending on whether m1 is greater or less than m2r2. But this is not enough to make a choice between the two techniques; it is very much possible that a higher growth rate does not provide a higher level of social welfare. Sen, therefore, argues, “After getting the two time series of income flows we have to apply the relevant rates of time discount.
The time discount is necessary because of at least two reasons:
(a) The diminishing marginal social utility of income with the rising income level, and
(b) The uncertainty of the future. If marginal social utility of income falls quickly and becomes negligible as income rises beyond a certain level, it is possible that higher rate of growth of income may not give us a higher sum of total social satisfaction”.
Sen admits that beyond a point these rational calculations cannot be applied, because it is very difficult to foresee all that is going to happen in the future. He, therefore, suggests a less satisfactory but more workable method under which a period of time that is to be considered is to be fixed and then one should see whether the loss of immediate output due to the choice of the more capital – intensive technique is more than compensated by the extra output from it later, before the period under consideration is over. He conceives a period of recovery and defines it “as the period of time in which the total output, with the more capital-intensive technique, is just equal to that with the less intensive technique”.
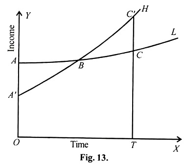
In figure (Fig.13) which Sen uses, OT represents the period of recovery, as the surplus area for the capital intensive techniques, (BCC,) is exactly equal to the deficit area (BAA’). H and L curves indicate the time series of consumption flows from the capital intensive and labour intensive techniques respectively.
But the investment planner wishes to consider period U which lies between O an d T. If U = T, the investment planner would be indifferent between the two techniques. He would choose technique
L if U < T, and technique H if U > T.
Limitations:
Sen himself is aware of the limitations of this approach. According to him there is an arbitrariness involved, since it is assumed that there is no time preference up to the end of the period U and thus each unit of income has an equal value. But beyond the period U income is of no value. Thus the time factor is suddenly introduced. Sen, however, assures that such arbitrariness cannot easily be avoided on account of the very nature of the problem. He further states that if extreme values of U are not chosen, it will become less arbitrary than the Kahn – Chenery approach of the S.M.P. criterion or the Galenson – Leibenstein approach of reinvestment criterion.
Further there is not much reality in Sen’s period of recovery approach. If we assume U = 1, Sen’s approach becomes exactly the same as the Polak-Buchanan rate of turnover criterion. It implies that the investment planner’s interest is limited to the first period only and therefore, that technique is to be preferred which could provide a higher rate of immediate output. If we assume U = a, Sen’s approach becomes similar to the Galenson – Leibenstein rate of reinvestment criterion, according to which, it is the higher rate of growth all that is wanted. A.K. Sen and Maurice Dobb explicitly introduce dynamic elements while stating their criterion, but even they do not take into account the relevant constraints that may become effective at future points of time.
Sen was in favour of land reforms. In 1962, he opined that there was an inverse relationship between farm size and productivity. Sen believed that productivity on a small plot of land owned by a single person is higher because the owner of the land can devote personal energy to cultivation. The farmer considers the land as the only source of his income or livelihood and he whole heartedly tries to increase productivity of that plot of land. Personal care by the farmer helps to increase production. Sen’s idea about farm size and productivity is controversial in nature. But his concept of farm size and productivity has not been proved to be correct. Sen himself changed his view of farm size and productivity in 1980.
Sen has opined that an opportunity for a break from the past could have been seized when economic reforms were initiated in 1991, but the focus of attention in that programme has been almost exclusively on the opening up of the Indian economy and no broadening the reach of the markets. Those are certainly worthy goals, and the need for reform had been strong for a long time in the over regulated Indian economy but the lack of any initiatives towards a radical change in social policies, including those in basic education and elementary health care, is a major failure with deeply negative implications on the prospect of improving living conditions and even on the changes of success of the market reforms themselves.
According to Sen, there is a deep seated complementarity between various economic arrangements including market mechanism and social opportunities. On the other hand, the opportunity offered by a well-functioning market may be difficult to use when a person is handicapped by, say, illiteracy or ill health. On the other hand a person with some education and fine health may still be unable to use his or her abilities because of limitation of economic opportunities related to the absence of markets, or over-zealous bureaucratic control, or lack of access to finance, or some other restraint that limit economic initiatives. The use of economic opportunities by one person can open up further opportunities for others through backward and forward linkages in supply and demand. Sen has given greatest strategic importance to the expansion of health and education especially primary health and education in the process of economic development for having the influences that go much beyond the immediate personal effects.
If machinery did nothing to raise production, it would be quite eccentric to value its existence, nevertheless, where as being educated or being in good health could be valued even if these would do nothing to increase the production of commodities, because the human resource is not only means of production but ultimate end also. Sen is especially worried about the fact that agency of women as a force for change is one of the most neglected aspect of the development literature. Inequality between men and women is one of the most crucial disparity and social failures in many societies including India and it would not decline automatically with the process of economic growth.
By simply decline in poverty which is of course a matter of deprivation, cannot assure a simultaneous decline in inequality. Recognition of women as agent of social change is essentially needed for which specific focus should be given on women sector in the process of human development efforts. Conclusively, Amartya Sen, more than just an economist, is an ethical philosopher. He is a lover of freedom and a humanist. He has focused on the poor, viewing them not as objects of pity requiring charitable handouts, but as disempowered fold needing empowerment, education, health, nutrition gender equality, safety net in times of distress, all are needed to empower people. Sen opines that is the role, the state should play rather than taking over the means of production while neglecting social sectors. On these ground’s, Sen has influenced the IMF and the World Bank so much that today, they sometimes sound like Sen himself. Truly speaking, Sen’s contribution to applied economics is a momentous and relevant to the contemporary world as J.M. Keynes’ Theory of Employment during the years of the Great Depression about seven decades ago. Economics to him, is like it was to Marshall – a hand maid of ethics and servant of practice.
The Entitlement Approach to Famine Analysis
The Entitlement Approach to Famine Analysis Entitlements have been de? ned by Sen (1984, p. 497) as “the set of alternative commodity bundles that a person can command in a society using the totality of rights and opportunities that he or she faces”. It should be noted immediately that this is a descriptive rather than a normative concept; entitlements derive from legal rights rather than morality or human rights. Sen (1981, p. 166) concludes Poverty and Famines with this famous observation: “The law stands between food availability and food entitle- ment. Starvation deaths can re ect legality with a vengeance”. There is clearly something odd—at best uncomfortable, at worst “defective”—with an analytical approach that appropriates a normative term like “entitlement” and strips it of all ethical connotations. In Sen’s framework, people destituted by famine are not entitled to food; instead they are “entitled to starve” (Edkins, 1996, p. 550). Despite its normative connotation, entitlements “does not re ect in any sense a concept of the right to food” (Edkins, 1996, p. 559).
1 A person’s “entitlement set” is the full range of goods and services that he or she can acquire by converting his or her “endowments” (assets and resources, including labour power) through “exchange entitlement mappings”.
2 In the context of poverty and famine, the entitlement approach aims comprehensively to describe all legal sources of food, which Sen (1981, p. 2) reduces to four categories: “production-based entitle- ment” (growing food), “trade-based entitlement” (buying food), “own-labour entitle- ment” (working for food) and “inheritance and transfer entitlement” (being given food by others).
3 Individuals face starvation if their full entitlement set does not provide them with adequate food for subsistence. Famine scales this up: occupationally or geographically related groups of people face famine if they simultaneously experience catastrophic declines in their entitlements.
4 Perhaps the most valuable contribution of the entitlement approach to famine theorizing is that it shifts the analytical focus away from a ? xation on food supplies—the Malthusian logic of “too many people, too little food”—and on to the inability of groups of people to acquire food. Food insecurity affects people who cannot access adequate food (e.g. because of poverty) irrespective of food availability—a famine can occur even if food supplies are adequate and markets are functioning well. This is a crucial insight. As Sen emphasized, there is no technical reason for markets to meet subsistence needs—and no moral or legal reason why they should. An equally import- ant insight—and one that has generated much confusion and controversy in the literature—is that famine can be caused by “exchange entitlement decline” (adverse shifts in the exchange value of endowments for food, e.g. falling wages or livestock prices, rising food prices) as well as by “direct entitlement decline” (loss of food crops to drought, for instance). The entitlement approach does not exclude the latter possibility. It is common for Sen and his defenders to dismiss critics of the entitlement approach as “misreading”, “misinterpreting”, or even “misrepresenting” Sen’s intentions.
5 But this begs the obvious question: How could so many academics have misunderstood what Sen was trying to say in Poverty and Famines—which is, after all, a brief essay written with great elegance and clarity? I suggest that the confusion is largely of Sen’s own making. Although Sen is careful to emphasize that the entitlement approach is descriptive rather than theoretical, and empiricist rather than normative— “a general framework for analysing famines rather than one particular hypothesis about their causation” (Sen, 1981, p. 162)—he chooses to set up the entitlement approach in theoretical opposition to something he labels “FAD”, for food availability decline, and he invests much intellectual energy in Poverty and Famines in attempting to demonstrate that the four 20th-Century famines he chooses as case studies were not precipitated by signi? cant food availability declines but instead by exchange entitlement declines.
6 The danger is that setting up ‘FAD’ as a hypothesis to be refuted by the entitlement approach places the latter in an equivalent status, as a theoretical proposition requiring theoretical justi? cation and empirical veri? cation. It does seem that Sen is trying to have it both ways, by presenting the entitlement approach as a generic framework for analysing famine processes but then deploying the approach to refute a theory of famine causation with which he profoundly disagrees. I would suggest that the confusion has arisen because Poverty and Famines makes not one, but two pathbreaking contributions to the famine literature. Sen has provided both a general analytical framework for examining all famines (the entitlement approach) and at the same time put forward a “new” theory of causation:
7 that certain famines are characterized by declines in access to food for identi? able population groups irrespective of food availability at national level (“exchange entitlement failure”).
8 The first achievement is subject to critical scrutiny on analytical or conceptual grounds, while the second is open to attack only on empirical grounds.
9 I shall deal only brie y with the empirical attacks on the entitlement “theory”, since they are both less interesting and epistemologically awed. Early critiques of entitlement “theory” concentrated on the complex relationship between “food availability decline” and “exchange entitlement decline” in famine events, and speci? cally on Sen’s assertion that several 20th-Century famines were not triggered by catastrophic declines in food production or food availability. A vigorous empirical debate followed around the analysis or interpretation of food production and availability data for speci? c famines. This literature has two strands: “refutation” by reinterpretation (or re-reinterpretation) of data; and “refutation” by counter- example. · Refutation of entitlement “theory” by reinterpretation of data: In Poverty and Famines, Sen recalculated data from four famines to demonstrate: (a) adequate food availability and/or negligible decline from pre-famine food availability; (b) exchange entitlement collapse for speci? c population groups as a proximate cause of famine. Some critics have challenged Sen’s use of food production, trade and price statistics, to claim that Sen underestimated the extent to which food availability decline was in fact an important element in these famines.
10 · Refutation of entitlement “theory” by counter-example: A related strand of the critical literature attempts to demonstrate that the entitlement approach does not adequately explain some famines that were not examined by Sen in Poverty and Famines.
11 The argument is that Sen’s preoccupation with exchange entitlement collapse (adverse shifts in food price/wage or food price/livestock price ratios) understates the significance of FAD—specifically food production failure—as a causal trigger of many famines, especially in Africa, and that if famines can be found that were not triggered by catastrophic “exchange entitlement failures”, this somehow refutes entitlements’ claims as a general “theory” in opposition to FAD. Whatever the merits of the competing analyses of various famines, this strand of the debate is fatally awed. It is predicated on the false premise that food availability
decline is a “non-nested alternative” to entitlement decline (Ravallion, 1996), whereas in fact FAD is incorporated within the entitlement framework as “direct entitlement decline” or failure of “production-based entitlement”. A more significant challenge is provided by cases of famine that are characterized by radical violations of legally defened entitlement relations—such as recent famines in the Horn of Africa, where assets are transferred or destroyed not by voluntaristic exchange in markets or by natural disaster such as drought but by political con ict and war. I shall return to this issue in detail later, but suffece it to say for now that I am not convinced by this “refutation by counter-example” approach. My preferred reconciliation of this unnecessarily acrimonious debate would be to propose a taxonomic approach, identifying some famines as clearly triggered by FAD (old-style droughts or oods), others by exchange entitlement decline (where food supplies are adequate but certain groups face catastrophic collapses in their access to food) and others by political crisis (unfavourable or hostile government policies, con ict and war, failures of international response). In every case, however, identifying the trigger does not explain the famine, which requires a more complex analysis of conjunctural triggers and structural or underlying causes to be fully explained. Entitlement collapse offers a fresh perspective on the famine process, but its critics (both “friendly” and “hostile”) are correct to complain that entitlements is too apolitical and ahistorical to tell us much about the structural causes of famines. However, the point remains that the entitlement approach is not a theory of famine causation in competition with other theories such as FAD or Malthusianism. It is a framework for the analysis of famine processes at the micro-level, and its claim to be a comprehensive framework is what I am focusing on here. I want to turn now to more specific critiques of entitlements as an analytical construct.
Sen’s Four “Limitations” of the Entitlement Approach In Poverty and Famines, Sen recognized four “limitations” of the entitlement approach, each of which he mentions with little elaboration:
“First, there can be ambiguities in the specification of entitlements”
“Second, while entitlement relations concentrate on rights within the given legal structure in that society, some transfers involve violations of these rights, such as looting or brigandage”
“Third, people’s actual food consumption may fall below their entitlements for a variety of other reasons, such as ignorance, food habits, or apathy”
“Finally, the entitlement approach focuses on starvation, which has to be distinguished from famine mortality, since many of the famine deaths—in some case most of them—are caused by epidemics” (Sen, 1981, p. 50). I will now examine these individually, though not in the same order as listed by Sen. Choosing to Starve people’s actual food consumption may fall below their entitlements for a variety of other reasons, such as ignorance, ? xed food habits, or apathy … Also, people sometimes choose to starve rather than sell their productive assets, and this can be accommodated in the entitlement approach using a relatively long-run formulation (taking note of future entitlements).
Entitlement analysis is predicated on the implicit assumption that a food shortage triggers an automatic behavioural response, namely the conversion of endowments into food for survival. Thus, a person’s “starvation set” is defined as “those endowment bundles such that the exchange entitlement sets corresponding to them contain no bundles satisfying his minimum food requirements” Sen’s con- cession that people “sometimes choose to starve” [emphasis added] in the short-term to enhance their future entitlements drew on findings from Indian droughts , and anticipated research into “coping strategies” during African famines of the 1980s that would highlight consumption rationing as a strategic response to livelihood shocks.
12 However, Sen later stressed that he regards such choice behaviour as applying to “persistent hunger” rather than to “famine”. If the focus of attention is shifted from famines as such to less acute but possibly persistent hunger, then the role of choice from the entitlement set becomes particularly important, especially in determining future entitlement. For example, a peasant may choose to go somewhat hungry now to make a productive investment for the future, enhancing the entitlement of the following years and reducing the danger of starvation then. For entitlement in a multi-period setting the initial formulation of the problem would require serious modification and extension.
While the early literature on “coping strategies” reflected an assumption that strategic behaviour is dominated by the search for food, later research found that consumption rationing is an austerity measure that is adopted almost routinely. Evidence from many famines confirms that “coping strategies” during food crises are preoccupied with avoiding asset depletion rather than with maintaining consumption levels.
13 People facing food shortage make strategic decisions not only about how to bridge their consumption deficit, but also about how to balance this priority against its longer term economic—and social—costs. The sequence of coping strategy adoption is determined not only by each strategy’s effectiveness in terms of bridging a food gap, but also by the cost and reversibility of each action (Watts, 1983). Strategies that incur little long-run cost are adopted first (including rationing food consumption), while those that incur higher costs and are difficult to reverse are adopted later (e.g. selling the household plough to buy food). Seen in this light, decisions to ration food consumption, even severely, can be understood as attempts to manage the current endowment set, including food, to maximize the individual’s or household’s long-term entitlements. Endowments are not always exchanged for food because consuming productive assets undermines future viability. Thus, de Waal ( argues that people who suffered hunger and malnutrition in Darfur “were not ‘choosing to starve’, with its implications of choosing to risk death. Instead, under enormous stress, they were choosing to suffer hunger in order to try to preserve their way of life”.
14 Osmani (1995, p. 280) argues that this behaviour can easily be accommodated within an entitlement analysis in which, pace Sen and de Waal, choices made from the entitlement set reflect a multi-period planning horizon. People who die during famines are “having to starve”: strategic management of their endowments leaves them no “intertemporal entitlement set” that would allow them to avoid starvation both now and in the future. However, even this “multi-period entitlements analysis” cannot explain the coexistence of famine mortality and unrealized entitlements—household members dying while the household retains assets that it could exchange for food. Ravallion (1987) has attempted to explain the apparent paradox in terms of risk and uncertainty. People who “choose to starve” are not choosing to die—which would make preservation of their assets and livelihoods meaningless
15—but are accepting an in- creased risk of dying, which rises steeply as nutrition status declines but is, at the margin, uncertain (Young & Jaspars 1995). Forced to choose between selling assets to buy food (and the certainty of destitution to follow) and going hungry to preserve future livelihoods (with the unknown probability that excessive rationing will lead to death) the “rational peasant” logically chooses the latter. In my view, these arguments are flawed because they erroneously con ate the individuals making decisions about resource allocation (asset disposal, food procure- ment and intrahousehold food distribution) within the household with the people who will face the consequences of these difficult choices and trade-offs (in terms of increased nutritional, morbidity and mortality risk). This error arises because of Sen’s methodological individualism, which his critics and supporters, on this issue at least, all appear to share. The brutal reality is that famine mortality is a function of “social vulnerability” as much as individual “biological vulnerability”. People facing subsistence crises are forced into making the cruellest of choices, and these choices might even involve “sacrificing” weaker household members. Children consume scarce resources; cattle and goats are scarce resources. Famine mortality statistics reveal that it is the weakest and most dependent family members—children and the elderly—who suffer disproportionately and are the first to die (Caldwell & Caldwell, 1992; Seaman, 1993). Conversely, economically active adults who earn the household income and control the household’s assets are most likely to survive famines. These cohorts are the productive and reproductive core of the family unit; their survival is essential for the reproduction and future viability of the household. These cohorts—particularly adult males—also dominate the decision-making process within the majority of households. This separ- ation between decision-making power and mortality risk within households is no coincidence. This could be modelled—for those who have such inclinations—either as a rational decision to protect the household’s core productive members by neglecting the “unproductive” consumers of its diminishing resources, or as a reflection of adult (especially male) power over disempowered age-sex cohorts. The problem for the entitlement approach is that it is silent about such apparent violations of the fundamental right to life: if a household has endowments such as livestock that can be exchanged for food, the entitlement approach predicts that this will happen. Sen later introduced the notion of “extended entitlements” (Sen, 1986; Dre`ze & Sen, 1989) to cover “socially legitimated” entitlements to food that were not conferred by the market mechanism. These included intrafamily allocation of food, or what has been labelled “dependency entitlement” (Bongaarts & Cain, 1982). But how can even an “extended entitlement” approach explain a household’s decision to violate these intrafamily allocation rules and allow some of its members to die in order to preserve entitlements for the survivors? 16 Here as elsewhere, Sen’s focus on the household as the principal unit of analysis confounds the entitlement approach, as does its failure to engage with social relations and power inequalities, in this case at the intrahousehold level. Curiously, Sen has never drawn on his related work (e.g. on “co-operative conflict” (Sen, 1990), his seminal contribution to the intrahousehold bargaining models literature, or on female mortality risk in South Asia) to examine how differential power within the household translates into differential mortality risk during famines.
Starvation or Epidemics, the entitlement approach focuses on starvation, which has to be distinguished from famine mortality, since many of the famine deaths—in some cases most of them—are caused by epidemics, which have patterns of their own. The epidemics are, of course, partly induced by starvation but also by other famine characteristics, e.g. population movement, breakdown of sanitary facilities.
Conventional wisdom asserts that people who perish during famines die of starvation due to inadequate food consumption. In Poverty and Famines, Sen (1981, p. 47) writes about people being “plunged into starvation” when their entitlement to food collapses. In fact, frank starvation is rarely recorded as the cause of death in famines. More often, death is attributed to hunger-related diseases such as diarrhoea or gastro-enteritis, and is explained by heightened susceptibility as lack of food undermines biological resist- ance to these illnesses. This is not of course incompatible with a “food entitlement decline” theory of famine. For entitlement failure to retain explanatory power, however, requires demonstrating an association between, mortality during famines (due to whatever proximate cause) and entitlement collapse, as proxied, say, by destitution. Sen (1981) finds an association between occupation status and mortality risk during the Bengal famine of 1943 and the Bangladesh famine of 1974, with low-paid occupations such as landless labourers suffering the highest rates of destitution and death. But the evidence is less clear for African famines, and sometimes appears to contradict Sen. A potentially serious challenge to Sen’s privileging of “entitlements collapse” as the primary cause of famine mortality is presented by de Waal’s research on the western Sudan famine of the mid-1980s. De Waal (1989, pp. 182–83) found that: “Indicators of poverty had no evident relation to mortality” in Darfur in 1985, and that “mortality in the very poorest households … was not significantly higher than in the others”. This finding led de Waal to conclude that mortality risk was more closely associated with patterns of migration and exposure to new disease vectors than with relative wealth and access to food. It is known that most mortality in recent African famines is explained neither by starvation nor hunger-related diseases, but by epidemics of communicable diseases—such as cholera, measles or typhus—especially among displaced populations on the move or in crowded refugee camps, that are not directly related to inadequate food consumption. The key determinants of mortality during the Darfur famine, according to de Waal (1990, p. 481), were not poverty or entitlements, but “quality of water supply, sanitation and overcrowding”. De Waal’s “health crisis” model sees famine mortality following a very different causal pathway from the “food crisis” model (see Figure 1). In famines where mortality is triggered by epidemics, “it is not the undernutrition caused by the famine but the social disruption caused by it that is critical in causing excess deaths” (de Waal, 1990, p. 481). The conclusion is that famine mortality is a consequence of the social process of famine, rather than the economic process (entitlement collapse)—lack of food or poverty at the individual level. Where does the “health crisis” model leave the entitlement approach, predicated as it is on a posited causal pathway from disrupted access to food through to death by starvation or hunger-related disease? There are two ways in which the entitlement.
approach can be salvaged on this issue. One is to attribute vulnerability even to communicable diseases to heightened susceptibility due to undernutrition (weakened biological resistance). Nutritionists such as Young & Jaspars (1995, p. 105) favour this view, arguing that de Waal underestimates “the synergism between malnutrition and morbidity” which they regard as best explaining famine mortality. The second defence is to assert that people who become exposed to communicable diseases (for instance, displaced populations in refugee camps) left their villages and migrated in search of relief precisely because they had lost their entitlements to food. Ravallion , for instance, suggests that the relationship between food shortage and morbidity or mortality outcomes reflects “behavioural synergies” (which might include increased exposure due to famine-induced distress migration) as well as “biological synergies” (increased susceptibility to infection). In terms of both explanations, exposure to disease is accepted as the proximate cause of death, but the underlying cause of death remains as “entitlement failure”. A reconciliation of this debate might be to accept the merits of both explanations.
18 Famine mortality reflects both increased susceptibility and increased exposure to diseases, some of which are hunger-related while others are not—but both reflect a common origin in disrupted access to food (epidemics that are not triggered by food scarcity are not, de? nitionally speaking, famines). The relative contribution to mortality of star- vation, hunger-related morbidity and epidemic diseases will vary from one famine to another, but all three contributory factors are intrinsic to the famine process, and all three can arguably be accommodated within a broadly framed entitlement analysis. One feature that the “health crisis” model does highlight, though, is the recognition of famine as a social crisis rather than an economic crisis scaled up from the household to the group level. Once again, the entitlement approach proves to be unable to explain collective outcomes (in this case, disease epidemics) because of its analytical focus on the individual or household unit.
Fuzzy Entitlements
19 there can be ambiguities in the specification of entitlements … in pre-capitalist formations there can be a good deal of vagueness on property rights and related matters. In many cases the appropriate characterisation of entitlements may pose problems, and in some cases it may well be best characterised in the form of ‘fuzzy’ sets and related structures. In his original formulation of the entitlement approach, Sen was concerned only with legal ownership by individuals of alienable commodities. He ignored possibilities for weaker claims over resources, such as access and usufruct rights, as well as contexts where property rights are exercised institutionally, such as common property regimes, rather than individually. These two sources of “fuzziness” confound the central tool of entitlement analysis: namely the “mapping” between an individual’s endowments and their entitlements.
Fuzziness with respect to units of analysis. In his elaboration of the entitlement approach, Sen (1981) chooses the individual, the household, or an “economic class” of people (sharecroppers, pastoralists) as his unit of analysis, and he shifts seamlessly between these levels of aggregation, as if they are interchangeable.
20 Osmani (1995, p. 254) justi? es this blurring of individuals and groups as follows: “The basic unit of analysis is an individual person. For practical purposes, however, the analysis can also be conducted at collective levels such as household, group, or class by using the standard device of assuming a ‘representative individual’ ”. In any context where ownership relations between individuals or institutions and resources or commodities are multi-layered, complex and even contested by different individuals or groups of people, the “standard device” that Osmani endorses becomes dif? cult to justify. This is particularly the case when “fuzziness” in terms of units of analysis arises because different individuals and institutions exercise distinct claims over the same resource.21 In such cases, agreed rules must be established for allocating rights over the resource to the various claimants. When several groups of people each hold socially legitimated rights over the same resource endowment, entitlements owing from that resource cannot be modelled as if they accrue to a single person, and the notion of a “representative individual” simply cannot be applied. Throughout rural Africa, natural resources are owned (de jure) or controlled (de facto) by private individuals, households, extended families or lineage groups, com- munities, ethnic groups or “tribes”, and the state. These “resource decision units” (Bromley, 1989) overlap, since all individuals are simultaneously members of most institutional groupings as well. Con icts and “ambiguities” can occur at or between any of these levels, because institutional ownership or control of a resource such as land does not necessarily imply equal or equitable access to that resource by each individual member of that institution.
22 Instead, access to such resources (or to entitlements derived from these resources) is strictly governed by rules and norms that are established on the basis of “belonging” (citizenship, ethnicity), “seniority” (age, gender) and other axes of inclusion or exclusion. These filters act as rationing mechanisms, selectively allocating resources to individuals who display the preferred characteristics and marginalizing the claims of others who do not share these characteristics—which are often inherited (ascribed) attributes such as ethnicity or age that cannot be changed (or acquired). To the extent that a community or society is structured along rules or norms of inclusion and exclusion an individual’s personal characteristics become a major determinant of his or her ability to access resources (i.e. to accumulate endowments and to realize entitlements). As Gasper (1993, p. 694) points out: “Beyond legal rights, effective access within institutions typically depends not only on formal rules but on particular relationships of authority and in uence”. Leach et al. (1997) agree that Sen’s definition of entitlements as legal rights only is too restrictive, and they develop the concept of “environmental entitlements”, which attempts to “extend the entitlements framework to the whole range of socially sanctioned as well as formal-legal institutional mechanisms for gaining resource access and control” . This formulation recognizes that certain entitle- ments—for example usufruct rights to land or trees in communal tenure regimes—are neither conferred nor enforceable by formal legal systems, but instead are validated by community-level institutions on the basis of social membership rather than private ownership. On the face of it, this would attempt to rescue the entitlement framework from the straitjacket of private property rights that Sen wrapped around it. After all, as Osmani , Sen himself broadened his original narrowly legalistic definition of ownership to incorporate all “socially accepted” norms of ownership. But is this suficient Fine thinks not: “the ambiguity in property rights is not resolved by pressing legitimacy into service as a criterion”. As Leach et al. point out, “resource claims are often contested, and within existing power relations some actors’ claims are likely to prevail over those of others”. Socially determined entitlements are more dynamic and fluid, and—crucially for entitlement analysis—less amenable to specification at the individual level than are market-determined entitlements
.23 “An extended entitlements approach therefore sees entitlements as the out- come of negotiations among social actors, involving power relationships and debates over meaning, rather than as simply the result of mixed, moral rules encoded in law”
Elsewhere, in his important work on modelling intrahousehold relations, Sen (1990) recognizes that entitlements are differentially distributed between household members, and that the distribution of entitlements can be a locus of negotiation and contestation between individuals who have very different objectives and decision-making power. Sen’s exposition of “co-operative con ict” within households implies a rejection of “unitary” household models in favour of “collective” models (see Kabeer, 1994; Haddad et al., 1997). This paper argues for a similar rejection of unitariness with respect to all resource decision units above the level of the individual—such as the extended family, the lineage group or clan, the “community” and occupation groups or economic classes—and for the application instead of a collective or bargaining analysis. Within each of these institutions, the distribution of endowments—and of decision- making power over both endowments and entitlements—is typically extremely skewed, and is likely to be a source of tension and conflict rather than consensus. Fuzziness with respect to property rights. The absence of genuine rights of private property in productive assets is a well-known feature of traditional village societies. It means that no single owner can claim exclusive property in those assets nor use them at his discretion in whatever way he likes. In particular, he is not entitled to dispose of them (to transfer them, to donate them, and so on) by an act of will: assets are not freely alienable and, therefore, they may not be ‘commoditized’.
The notion of entitlements is conceptually and empirically inseparable from an econ- omic system founded on private property and the legal rights associated with exclusive ownership by individuals of assets as commodities. “Exchange entitlements” are defined by the conventions of commodity exchange in capitalist regimes, being subject to the laws of contract and occurring as an impersonal “ ‘exchange of alienable things. between transactors who are in a state of reciprocal independence’. By contrast, traditional precapitalist societies are the domain of non-commodity (gift) exchange defined as ‘an exchange of inalienable things between transactors who are in a state of reciprocal dependence’ ” .
This implies that the entitlement approach is analytically weakest in precisely those socioeco- nomic contexts for which it was designed, namely, famine-prone communities whose vulnerability is partly defined by their weak or unfavourable incorporation into markets, where common property and open access regimes for resources dominate private property and market-based exchange. To the extent that commodity exchanges in precapitalist communities (or poor communities that retain signifcant precapitalist features) occur outside the contractual rules of the market-place, the entitlement approach is effectively inapplicable. Of the four main resource regimes—private property, state property, common property and open access (Bromley, 1989, p. 871)—entitlements are “fuzziest” with respect to common property regimes. Under private and state property regimes, entitlements are clearly defined and ownership is vested in individuals or state institutions. In open access regimes, entitlements are freely available to whoever chooses to take advantage of the resource. Under common property regimes, however, it is necessary to separate out ownership, control and access to a resource (endowment) from ownership, control and access to the utilities derived from that resource (entitlement). This introduces a critical “ambiguity” (though not necessarily, as Sen puts it, “vagueness”) around the speci? cation of ownership relations. Take the case of “communal land” which is owned by the state, controlled by community leaders (village headmen) and accessed or utilized by individual farmers. In return for allocating usufruct rights over land to local farmers, village headmen might extract rent for its use in the form of tribute or “gifts”. The state might also extract rent, in the form of a head tax on livestock or grazing fees. There is, in this example, a structural separation between the resource endowment and entitlement to utilities derived from that resource (see Figure 2). Figure 2 expands the conventional entitlement analytical framework, in terms of which an endowment set of resources is transformed into an entitlement set of goods and services via an entitlement mapping relationship (Osmani, 1995, p. 256). House- holds that do not enjoy security of tenure over the land that they farm face threats of exclusion or reduction in their entitlements on two fronts: loss of access to land if the community or state exercises its greater authority over this land to dispossess the household; or if taxes or tribute demanded for access rights become prohibitive. The pyramid under ‘Claims’ is inverted to indicate that the strongest claim on the land rests with the state which owns it. Individual households have the weakest claim—they can be required to pay taxes for its use to both community leaders and the state, and they can be forcibly removed from the land they occupy should the government decide, for example, to convert this land into a state farm, a dam or a game park.
Extra-entitlement transfers while entitlement relations concentrate on rights within the given legal structure in that society, some transfers involve violations of these rights, such as looting or brigandage. When such extra-entitlement transfers are important, the entitlement approach to famines will be defective. On the other hand, most recent famines seem to have taken place in societies with ‘law and order’, without anything ‘illegal’ about the processes leading to starvation.Edkins (1996), following a deconstructivist approach, has argued persuasively that what Sen chooses to marginalize or exclude from the entitlement approach is more significant than Sen acknowledges. Two crucial exclusions are “extra-entitlement transfers” and deliberate starvation. By concerning his analysis to legally enforceable property rights, Sen (1981, p. 162) explicitly favours a restrictive view of famine as an “economic disaster” and he privileges “poverty and market forces as the root of famine” (Keen, 1994, p. 4). This characterization had earlier been criticized for neglecting the determination of entitlements (Watts, 1991). It also avoids engaging with the highly politicized context within which famines invariably occur. Contra Sen’s assertion, most recent famines, particularly in the Horn of Africa, have been triggered either by political instability or civil war, or by the lethal combination of war plus drought.
24 It might be argued that the emergence of “complex emergencies” ( “war famines”, displacing drought as the dominant trigger, has occurred since the publication of Poverty and Famines in 1981. However, despite popular perceptions of famines as natural or economic disasters, the politicization of famines is not a recent phenomenon, nor is it concerned to African “war famines”. A recent overview found that 21 out of 32 major 20th-Century famines since 1900 had adverse politics at the local, national or international level as a principal cause (De- vereux, 2000, p. 6).
25 Many other famines that had “natural” or economic triggers such as drought, food or food hoarding became politicized by failures of government or international response—sometimes involving deliberate withholding of food aid for political reasons.
26 The entitlement approach overlooks the centrality of political processes, many of which involve gross violations of human rights, including the right to food, in precipitating or exacerbating famines.27 Sen’s characterization of famine as “entitlement failure” excludes intentionality as a possible causal trigger, and ignores the reality that famine produces bene? ciaries as well as victims (Rangasami, 1985; Keen, 1994), who may play an active role in perpetuating or prolonging famine conditions.28 For example, the entitlement approach is unable to explain recent famines in the “asset transfer economy” ( South Sudan, where vulnerability is associated more with wealth than poverty. During the 1980s and 1990s the livelihood systems of Dinka agro-pastoralists were systematically undermined by repeated cattle raiding from aggressive neighbouring groups—either tacitly condoned or actively sponsored by the government in Khartoum—until they were unable to resist livelihood. Shocks like drought (Keen, 1994; Deng, 1999). During the 1990s over half a million people were displaced and their livestock herds were halved, and in the 1998 famine 70 000 people died (Deng, 1999).
These “extra-legal transfers” occurred outside the market mechanism, which is for Sen the primary institution for commodity exchanges and transfers. It is often asserted that the entitlement approach by defination cannot address “war famines”, since “entitlement theory has no place for violence” . In a very general sense this is true, but the impact of war and violence needs to be unpacked before any analytical role for the entitlement approach is rejected, since one of its most powerful contributions is in examining the distributional impact of a livelihood shock, whatever its source. Clearly, conflict impinges on all sources of entitlement to food, but not all of these involve “extra-entitlement transfers”. · Production-based entitlements: During a war, the ratio of food producers to food consumers falls: farmers are conscripted, displaced, disabled or killed; soldiers requisition food and livestock. “Scorched earth” tactics include destruction of granaries, burning of flields of standing crops and poisoning of wells. Before the famines of the 1970s and 1980s in Ethiopia, Angola, Mozambique and Cambodia, tens of thousands of hectares of farming land had been taken out of production in these countries because of landmines. · Employment-based entitlements: During a war cash crop production and marketing networks collapse, employment opportunities (demand for agricultural labour, petty trading activities) contract and farmers and pastoralists are attacked for food and livestock. Internally displaced persons and refugees lose their normal livelihoods. Lacking assets, incomes and access to food, they become dependent on external assistance. ·
Trade-based entitlements: Conflict disrupts normal trading activities in various ways, including:
(1) by disrupting trade routes—roads are mined and bridges are destroyed, trucks and fuel are diverted to military uses;
(2) by direct attacks on markets, e.g. the Ethiopian government bombed village markets in Tigray and Eritrea during the 1980s until markets had to be held at night;
(3) by appropriating food from traders or looting food stores; and
(4) by laying siege to towns or districts, thereby blockading movements of people and food. All these disruptions reduce food supplies and raise food prices in conflict zones, thus creating famine conditions. · Transfer entitlements: War disrupts both “private” and “public” transfers. Conflict shatters social support networks. The 1998 famine in southern Sudan was named the “famine of breaking relationships” by local people (Deng, 1999). Transport problems and roadblocks might make it impossible for relatives to send remittances. Food aid is frequently prevented from entering confict zones, either by government decree or because of security risks. Relief convoys and planes are attacked and food aid is seized: 80% of food aid sent to Somalia in 1986 was taken by the army or militias. During the 1980s famine the Dergue regime in Ethiopia appropriated food aid to support its forced resettlement programme, which exacerbated the famine. These effects of war can be disaggregated into three distinct clusters. The first cluster covers the disruptive effects of conflict on local economies and livelihoods. In theory, these disruptions—such as farmers volunteering for military service, or the contraction of local markets—could be incorporated within the entitlement approach, much as the effects of drought can be modelled in so far as they affect endowments and entitlement mappings. The second cluster is Sen’s illegal “extra-entitlement transfers” such as the requisitioning of grain from farmers, raiding of livestock from pastoralists, or seizing of food aid from relief convoys. There is no escaping Sen’s own judgement that these typical features of “war famines” render the entitlement approach “defective”.
30 The third cluster of effects is equally problematic for the entitlement approach, and refers to various “unruly practices” associated with war that do not directly transfer entitlements but create “conditions which are deliberately and socially engi- neered to undermine entitlement”. Perhaps the paradigmatic case is a siege that denies access to food, in order deliberately to bring about starvation of the besieged community.
By: Jyoti Das ProfileResourcesReport error
Access to prime resources
New Courses